污水處理中電磁流量計的應用選型
點擊次數:2634 發布時間:2021-03-19 08:43:57
隨著**人口急劇增長,工業發展迅速,**水資源狀況迅速惡化,“水危機”日趨嚴重。應對這種情況,我國政府將在“十一五”期間投資3000億元新建、改建數千座污水處理廠,以推進城市污水處理和利用,污染減排。在這樣的大背景下,安徽省黃山市正投資興建某污水處理廠,目前已建成日處理水15000m3污水一期工程,擔負著生活、工業污水凈化的重要任務,改善水體環境質量,使黃山市成為一座山清水秀的城市。
2004年前,黃山市基本上沒有大型污水集中處理廠等設施,更別提用于污水流量檢測的流量計了。在污水處理過程中,原污水的流量是一個需要檢測的關鍵參數。因原污水是含有顆粒、懸浮物、固液混合、具有腐蝕性的介質,而污水處理流量計較大特點是能夠測量酸、堿、鹽溶液以及含有固體顆粒(如泥漿)或纖維液體的流量,因此,該污水處理廠采用了2臺污水處理流量計,用于原污水的流量計量。
1、污水處理流量計的工作原理
污水處理流量計的基本原理是法拉*電磁感應定律,即導體在磁場中切割磁力運動時,其兩端產生感應電動勢E為:
2004年前,黃山市基本上沒有大型污水集中處理廠等設施,更別提用于污水流量檢測的流量計了。在污水處理過程中,原污水的流量是一個需要檢測的關鍵參數。因原污水是含有顆粒、懸浮物、固液混合、具有腐蝕性的介質,而污水處理流量計較大特點是能夠測量酸、堿、鹽溶液以及含有固體顆粒(如泥漿)或纖維液體的流量,因此,該污水處理廠采用了2臺污水處理流量計,用于原污水的流量計量。
1、污水處理流量計的工作原理
污水處理流量計的基本原理是法拉*電磁感應定律,即導體在磁場中切割磁力運動時,其兩端產生感應電動勢E為:

式中,K為儀表常數;B為磁感應強度(T);v為導體運動平均速度m/s;D為管道內徑(m)。

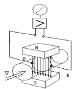
污水處理流量計工作原理和結構如圖1所示,由流量傳感器和轉換器兩大部分組成。
測量流量時,導電性液體相當于法拉*試驗中的導電金屬棒,以平均速度v流過垂直于流動方向的磁場。導電性液體的流動,在測量電極上感應出與平均流速成正比的電壓。其感應電壓信號E通過一對或一對以上的與液體直接接觸的電極檢測出來。
根據流體的體積流量公式為
測量流量時,導電性液體相當于法拉*試驗中的導電金屬棒,以平均速度v流過垂直于流動方向的磁場。導電性液體的流動,在測量電極上感應出與平均流速成正比的電壓。其感應電壓信號E通過一對或一對以上的與液體直接接觸的電極檢測出來。
根據流體的體積流量公式為

由公式(2)可知,Q與v是成正比的一一對應函數,那么E與Q也是成正比的一一對應函數,測出了感應電壓E也即測出了介質的體積流量Q。
測出的感應電壓E由電纜送至轉換器,通過智能化處理,然后LCD顯示,或轉換成標準信號4~20mA輸出。
2、污水處理流量計特點
(1)測量管道內無阻力元件,沒有附加的壓力損失,不易發生堵塞,具有顯著的節能意義;
(2)測量管道內無可動部件,不易磨損,因此傳感器壽命長;
(3)傳感器所需的直管段較短,方便安裝;
(4)合理選擇電極和內襯材料,可耐腐蝕和耐磨損;
(5)雙向測量系統,可測正反向流量;
(6)流量的測量為體積流量,不受流量的密度、粘度、溫度、壓力、和電導率變化的影響;
(7)傳感器感應電壓信號與平均流速呈線性關系,測量精度高(±0.3~-0.5%),量程比寬(1:150)。
3、污水處理流量計選型
儀表的選型很重要,有關資料表明,儀表在實際應用中有2/3的故障是儀表選型錯誤或使用不當造成的,因此,在確定選用污水處理流量計之后,還應根據不同的工藝、環境、測量、介質等綜合考慮。
3.1口徑選擇
根據該污水處理廠提供的工藝管道直徑、管道壓力及污水流速,選擇口徑D=600mm的污水處理流量計,現場不需要縮管和擴管。
3.2 內襯、電極材料選擇
污水處理流量計主要用于測電導率≥5μS/cm的流體流量,應根據被測物質的腐蝕性、磨損性、溫度及凝結性等特點和價格承受能力,應選擇不同內襯、電極材料。
污水處理流量計的內襯材料有:耐腐蝕性中等、耐一般低濃度的酸、堿、鹽的氯丁橡膠材料,耐磨損性強而耐腐蝕性能一般的聚氨脂橡膠,耐腐蝕性能強和適于溫度高的聚四氟乙烯,化學性質等同于聚四氟乙烯的抗拉、抗壓聚全氟乙丙烯,耐稀酸、堿、鹽的溫度<60℃的聚乙烯和溫度<100℃的聚苯硫醚等。
電極材料裝于其管道內壁,與被測物質直接接觸,故應根據被測物質的腐蝕性選定。污水處理流量計電極的材料有:耐鹽和小于50%濃度堿溶液的鈦(Ti)電極,耐酸和鹽的鉭(Ta)電極,耐腐蝕能力強的貴金屬鉑電極,不適于鹽酸的哈氏合金C電極和不適于硝酸的哈氏合金B電極,耐腐蝕能力一般、但價格低廉的不銹鋼316L等。
根據該污水處理廠主要處理生活廢水及工業廢水,再考慮用戶能接受的價格,選用氯丁橡膠材料內襯和不銹鋼316L材料電極。
3.3 防護等級的選定
根據**標準,傳感器有IP65噴水型和IP68潛水型兩種防護等級,根據用戶實際安裝地點在低矮的井道中,所以傳感器選IP68防塵潛水型。
3.4 附加功能的選擇
(1)對于選定的基本型,污水處理流量計已帶LCD顯示、4~20mA電流輸出和0~1KHz頻率輸出,根據流量計和計算機通訊的要求,需增加RS-485通訊口功能,
(2)對于傳感器安裝在地面以下,應選擇分體型。
4、污水處理流量計的安裝和調試
4.1 安裝要領
(1)安裝點選擇在管道較低處在確認被測物質流向之后,安裝點要選擇在任何時候測量導管內都能充滿液體,以防止由于測量導管內無液而指示不在零位所引起的誤差如圖2所示。
測出的感應電壓E由電纜送至轉換器,通過智能化處理,然后LCD顯示,或轉換成標準信號4~20mA輸出。
2、污水處理流量計特點
(1)測量管道內無阻力元件,沒有附加的壓力損失,不易發生堵塞,具有顯著的節能意義;
(2)測量管道內無可動部件,不易磨損,因此傳感器壽命長;
(3)傳感器所需的直管段較短,方便安裝;
(4)合理選擇電極和內襯材料,可耐腐蝕和耐磨損;
(5)雙向測量系統,可測正反向流量;
(6)流量的測量為體積流量,不受流量的密度、粘度、溫度、壓力、和電導率變化的影響;
(7)傳感器感應電壓信號與平均流速呈線性關系,測量精度高(±0.3~-0.5%),量程比寬(1:150)。
3、污水處理流量計選型
儀表的選型很重要,有關資料表明,儀表在實際應用中有2/3的故障是儀表選型錯誤或使用不當造成的,因此,在確定選用污水處理流量計之后,還應根據不同的工藝、環境、測量、介質等綜合考慮。
3.1口徑選擇
根據該污水處理廠提供的工藝管道直徑、管道壓力及污水流速,選擇口徑D=600mm的污水處理流量計,現場不需要縮管和擴管。
3.2 內襯、電極材料選擇
污水處理流量計主要用于測電導率≥5μS/cm的流體流量,應根據被測物質的腐蝕性、磨損性、溫度及凝結性等特點和價格承受能力,應選擇不同內襯、電極材料。
污水處理流量計的內襯材料有:耐腐蝕性中等、耐一般低濃度的酸、堿、鹽的氯丁橡膠材料,耐磨損性強而耐腐蝕性能一般的聚氨脂橡膠,耐腐蝕性能強和適于溫度高的聚四氟乙烯,化學性質等同于聚四氟乙烯的抗拉、抗壓聚全氟乙丙烯,耐稀酸、堿、鹽的溫度<60℃的聚乙烯和溫度<100℃的聚苯硫醚等。
電極材料裝于其管道內壁,與被測物質直接接觸,故應根據被測物質的腐蝕性選定。污水處理流量計電極的材料有:耐鹽和小于50%濃度堿溶液的鈦(Ti)電極,耐酸和鹽的鉭(Ta)電極,耐腐蝕能力強的貴金屬鉑電極,不適于鹽酸的哈氏合金C電極和不適于硝酸的哈氏合金B電極,耐腐蝕能力一般、但價格低廉的不銹鋼316L等。
根據該污水處理廠主要處理生活廢水及工業廢水,再考慮用戶能接受的價格,選用氯丁橡膠材料內襯和不銹鋼316L材料電極。
3.3 防護等級的選定
根據**標準,傳感器有IP65噴水型和IP68潛水型兩種防護等級,根據用戶實際安裝地點在低矮的井道中,所以傳感器選IP68防塵潛水型。
3.4 附加功能的選擇
(1)對于選定的基本型,污水處理流量計已帶LCD顯示、4~20mA電流輸出和0~1KHz頻率輸出,根據流量計和計算機通訊的要求,需增加RS-485通訊口功能,
(2)對于傳感器安裝在地面以下,應選擇分體型。
4、污水處理流量計的安裝和調試
4.1 安裝要領
(1)安裝點選擇在管道較低處在確認被測物質流向之后,安裝點要選擇在任何時候測量導管內都能充滿液體,以防止由于測量導管內無液而指示不在零位所引起的誤差如圖2所示。

(2)直管段保證在前5D后3D
為獲得儀表測量準確度,在傳感器上游側的直管段長度不小于5D,下游側不小于3D(D為傳感器的名義直徑)。若在傳感器上游側有兩個以上的彎頭或其它阻流件,則前置直管段應大于10D。
(3)信號電極在水平方向
水平安裝時要使電極軸線平行于地平線,因為處于底部的電極易被沉淀物覆蓋,被測介質中偶存氣泡擦過遮住電極表面,使輸出信號波動。
(4)盡量避開振動源、磁源(大功率電機、變壓器)
由于污水處理流量計的測量感應電壓很小,電壓較低,易受外界電磁噪聲的影響,故在安裝時應進行可靠的接地連(跨)接。金屬管道污水處理流量計接地連(跨)接方法如圖3所示。
為獲得儀表測量準確度,在傳感器上游側的直管段長度不小于5D,下游側不小于3D(D為傳感器的名義直徑)。若在傳感器上游側有兩個以上的彎頭或其它阻流件,則前置直管段應大于10D。
(3)信號電極在水平方向
水平安裝時要使電極軸線平行于地平線,因為處于底部的電極易被沉淀物覆蓋,被測介質中偶存氣泡擦過遮住電極表面,使輸出信號波動。
(4)盡量避開振動源、磁源(大功率電機、變壓器)
由于污水處理流量計的測量感應電壓很小,電壓較低,易受外界電磁噪聲的影響,故在安裝時應進行可靠的接地連(跨)接。金屬管道污水處理流量計接地連(跨)接方法如圖3所示。

4.2 轉換器安裝和調試
一體化污水處理流量計無單獨安裝轉換器,分體式轉換器安裝在傳感器附近或儀表室,場所選擇余地較大,環境條件好些。轉換器和傳感器間距離受制于被測介質電導率和信號電纜型號,即電纜的分布電容、導線截面和屏蔽層數、用制造廠儀表所附(或規定型號)的信號電纜。電導率較低傳輸距離較長時,應用二層屏蔽電纜。
為了避免干擾信號,信號電纜必須單獨穿過接地保護鋼管內,不能把信號電纜和電源線安裝在同一鋼管內。
功能性調試時,由智能轉換器對儀表分別進行參數的讀取,臨界值報警試驗等,然后進行流量系數值的寫入。
5、儀表投運及故障處理
污水處理流量計在投運前,應對管道及流量計進行徹底檢查,包括管道雜物等清理,電極處干燥處理。還包括電氣線路的檢查,*先應對線路的接地進行檢測,確保接地可靠后,還需進行絕緣電阻及接地電阻測試。
該污水處理流量計正常投運一年多來,基本上未出現故障,但是一年后,出現工作異常,具體表現為測量值變大或變小,或者是不停地波動,且經現場檢查,已排除管道不滿管、介質含氣等現象的可能性,發現這類問題的出現可能是與電纜線故障有關。因為流量計隨管道埋敷在地下,傳感器具有IP68防護結構,轉換器安裝在儀表箱或室內,兩者通過電纜連接,由于地面沉陷,山區環境潮濕等現場情況的變化,傳感器和轉換器未徹底做好電纜接頭處的防潮(防水)等處理,恰逢該接頭處于一個潮濕的環境,如儀表井、電纜溝等,潮氣侵入電纜接頭,都有造成如下的可能:
(1)信號線對地絕緣下降,引起信號衰減,較終是測量結果偏小;
(2)信號電纜連接處接觸電阻變大,使測量值變小,若該接觸電阻不穩定,則測量值無法穩定,且易引入干擾;
(3)勵磁線圈對地絕緣下降,造成測量結果偏小;
(4)信號線勵磁線對地絕緣性能下降,使得測量結果遠大于正常的數據,如這種干擾不穩定,對儀表的影響也變化不定,繼而出現波動;
(5)勵磁回路電纜連接處接觸電阻變大,使轉換器的勵磁回路處于非恒流工作區域,勵磁電流下降,同樣造成測量結果偏小,若該接觸電阻不穩定,則測量值出現波動。
判別這類異常情況,因發生在信號回路,判斷有一定難度,只有深入現場,在排除流量計其它可能性故障后,就應檢查電纜是否有問題,現場儀表維護人員只要把現場的勵磁回路電阻測量值與廠方提供的數據作比較,測試接地電阻,逐步判定問題所在,繼而采取措施,或更換整根電纜,或保持電纜接頭處干燥等。
6、結束語
由于污水處理流量計運行環境較為復雜,影響其正常工作的因素眾多,調試技術需要不斷總結和更新。總之,只要我們合理選用、正確安裝污水處理流量計,并采取有效的措施加以維護,就能避免或減少故障的發生,延長儀表的使用壽命,為生產提供準確可靠的計量數據。
在現代化的污水處理工藝中,配備流量檢測儀表,構成可靠的自動控制系統,使污水水質達到常規的排放標準,造福人類。
一體化污水處理流量計無單獨安裝轉換器,分體式轉換器安裝在傳感器附近或儀表室,場所選擇余地較大,環境條件好些。轉換器和傳感器間距離受制于被測介質電導率和信號電纜型號,即電纜的分布電容、導線截面和屏蔽層數、用制造廠儀表所附(或規定型號)的信號電纜。電導率較低傳輸距離較長時,應用二層屏蔽電纜。
為了避免干擾信號,信號電纜必須單獨穿過接地保護鋼管內,不能把信號電纜和電源線安裝在同一鋼管內。
功能性調試時,由智能轉換器對儀表分別進行參數的讀取,臨界值報警試驗等,然后進行流量系數值的寫入。
5、儀表投運及故障處理
污水處理流量計在投運前,應對管道及流量計進行徹底檢查,包括管道雜物等清理,電極處干燥處理。還包括電氣線路的檢查,*先應對線路的接地進行檢測,確保接地可靠后,還需進行絕緣電阻及接地電阻測試。
該污水處理流量計正常投運一年多來,基本上未出現故障,但是一年后,出現工作異常,具體表現為測量值變大或變小,或者是不停地波動,且經現場檢查,已排除管道不滿管、介質含氣等現象的可能性,發現這類問題的出現可能是與電纜線故障有關。因為流量計隨管道埋敷在地下,傳感器具有IP68防護結構,轉換器安裝在儀表箱或室內,兩者通過電纜連接,由于地面沉陷,山區環境潮濕等現場情況的變化,傳感器和轉換器未徹底做好電纜接頭處的防潮(防水)等處理,恰逢該接頭處于一個潮濕的環境,如儀表井、電纜溝等,潮氣侵入電纜接頭,都有造成如下的可能:
(1)信號線對地絕緣下降,引起信號衰減,較終是測量結果偏小;
(2)信號電纜連接處接觸電阻變大,使測量值變小,若該接觸電阻不穩定,則測量值無法穩定,且易引入干擾;
(3)勵磁線圈對地絕緣下降,造成測量結果偏小;
(4)信號線勵磁線對地絕緣性能下降,使得測量結果遠大于正常的數據,如這種干擾不穩定,對儀表的影響也變化不定,繼而出現波動;
(5)勵磁回路電纜連接處接觸電阻變大,使轉換器的勵磁回路處于非恒流工作區域,勵磁電流下降,同樣造成測量結果偏小,若該接觸電阻不穩定,則測量值出現波動。
判別這類異常情況,因發生在信號回路,判斷有一定難度,只有深入現場,在排除流量計其它可能性故障后,就應檢查電纜是否有問題,現場儀表維護人員只要把現場的勵磁回路電阻測量值與廠方提供的數據作比較,測試接地電阻,逐步判定問題所在,繼而采取措施,或更換整根電纜,或保持電纜接頭處干燥等。
6、結束語
由于污水處理流量計運行環境較為復雜,影響其正常工作的因素眾多,調試技術需要不斷總結和更新。總之,只要我們合理選用、正確安裝污水處理流量計,并采取有效的措施加以維護,就能避免或減少故障的發生,延長儀表的使用壽命,為生產提供準確可靠的計量數據。
在現代化的污水處理工藝中,配備流量檢測儀表,構成可靠的自動控制系統,使污水水質達到常規的排放標準,造福人類。
上一篇:關于無壓管道污水流量計制造技術


